【直销】NSQ25-12-3潜水渣浆泵钢厂用
【直销】NSQ25-12-3潜水渣浆泵钢厂用
产品价格:¥1-100000(人民币)
  • 规格:ZJQ NSQ QSZ潜水渣浆泵 抽沙泵
  • 发货地:石家庄
  • 品牌:
  • 最小起订量:1台
  • 诚信商家
    会员级别:标准会员
    认证类型:企业认证
    企业证件:通过认证

    商铺名称:石家庄万沃泵业有限公司

    联系人:王先生(先生)

    联系手机:

    固定电话:

    企业邮箱:158927219@qq.com

    联系地址:石家庄市桥西区友谊大街122号

    邮编:300000

    联系我时,请说是在电子快手网上看到的,谢谢!

    商品详情

      【直销】NSQ25-12-3潜水渣浆泵钢厂用

      NSQ立式矿用潜水渣浆泵结构说明【直销】NSQ25-12-3潜水渣浆泵钢厂用

      NSQ潜水渣浆泵是万沃工业泵厂技术人员吸收国内外先进技术,并结合了广大用户的实际情况,设计研究开发的,电机与水泵同轴一体潜入介质中工作的水利机械。NSQ潜水渣浆泵选材精良,结构先进,流道宽阔,通过能力强,是冶金、化工、矿山、火力发电厂等企业,用于输送含有砂石、煤渣、尾矿等有固体颗粒的液体之用,是传统渣浆泵的理想替代产品。 

      NSQ潜水渣浆泵除主叶轮外,另在底部增加一套搅拌叶轮,能将沉淀的於渣喷击成水和固体颗粒的混合液体。使水泵在没有辅助装置的情况下能够实现高浓度的输送。独特的密封装置能够有效平衡油室内外的压力,使得机械密封两端压力保持平衡,最大限度的保证了机械密封的可靠运行,大大延长了其使用寿命,电机可根据用户要求增加进水检测、过热等多种保护装置,使产品能在恶劣工况条件下长期安全运行。 


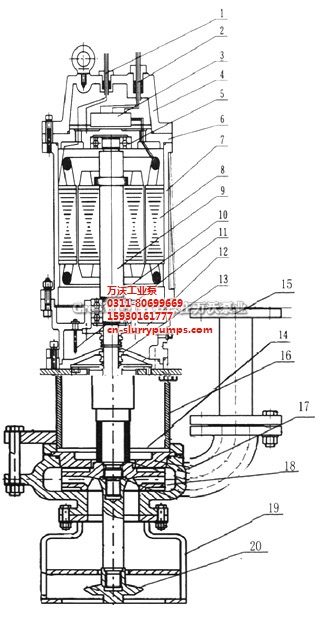
      NSQ立式矿用潜水渣浆泵结构图【直销】NSQ25-12-3潜水渣浆泵钢厂用

      ZJQ QSZ NSQ立式耐磨潜水渣浆泵 抽砂泵



      【直销】NSQ25-12-3潜水渣浆泵钢厂用

      1.信号线 2.电机接线 3.接线盒 4.电机盖 5.轴承 6.上轴承座 7.电机壳 8.定子 9.转子 10.轴承 11.油水探头 12.油室 13.潜水渣浆泵机械密封

      14.潜水渣浆泵护板 15.出水管 16.支架 17.潜水渣浆泵泵体 18.潜水渣浆泵叶轮 19.底座滤网 20.【直销】NSQ25-12-3潜水渣浆泵钢厂用铰刀


      NSQ立式矿用潜水渣浆泵结构特点   【直销】NSQ25-12-3潜水渣浆泵钢厂用

      1.整机为干式下泵型,电机采用油室密封方式,内设机械密封,能有效防止高压水和杂质进入电机内腔

      2.除主叶轮外,还有搅拌叶轮,能将沉淀于水底的淤渣搅拌成湍流后抽取出来。

      3.叶轮和搅拌叶轮等过流部件采用高硬度的高铬铸钢制造,耐磨、耐腐、排污能力强,能通过较大的固体颗粒。

      4.电机潜入水下,不受吸程限制,吸渣率高,清淤更彻底。

      5.整体设备简化,机组总投资降低。

       

      NSQ潜水渣浆泵使用条件  【直销】NSQ25-12-3潜水渣浆泵钢厂用

      1.电源为50Hz/380V三相交流电源.

      2.介质最高温度不得高于60℃,介质中不含易燃易爆性气体。

      3.介质中固体颗的最大重量浓度:灰渣为45%,矿渣为60% 。

      4.机组潜水深度:不大于20米,不小于1米。

      5.机组在介质中的工作位置为立式,工作状态为连续。 


      【直销】NSQ25-12-3潜水渣浆泵钢厂用                                           【直销】NSQ25-12-3潜水渣浆泵钢厂用



      ZJQ QSZ NSQ立式耐磨潜水渣浆泵 抽砂泵


      石家庄万沃泵业有限公司

      地址:石家庄市桥西区友谊大街122号

      电话:+0086-139-3018-0311

      +0086-0311-80699669

      传真:+0086-0311-80699889

      网址:www.cn-slurrypumps.com

                www.greatwonders.cn

      Q  Q: 2305935775
      微信:13930180311

      【直销】NSQ25-12-3潜水渣浆泵钢厂用        【直销】NSQ25-12-3潜水渣浆泵钢厂用                 【直销】NSQ25-12-3潜水渣浆泵钢厂用


    0571-87774297